T-Handle Wrench with Swivelling Hexagon Socket 6mm - Beta Tools 952 6
T-Handle Wrench with Swivelling Hexagon Socket 6mm - Beta Tools 952 6 is backordered and will ship as soon as it is back in stock.
Couldn't load pickup availability
The Beta Tools T-Handle Wrench with Swivelling Hexagon Socket 6mm - Beta Tools 952 6, is engineered for quick and efficient screwing operations. Its innovative design features an articulated joint that maintains functionality over time without the need for adjustments, making it a reliable tool for professionals.
Specifications:
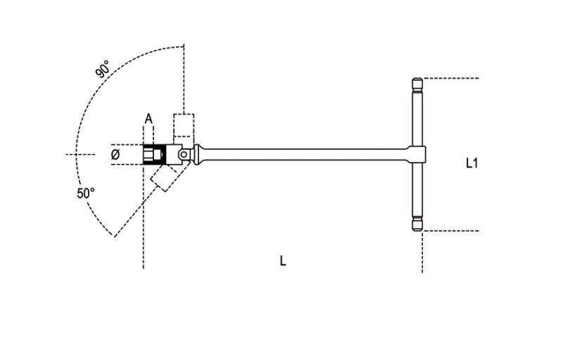
- Hexagon Size (?): 6 mm
- Diameter (Ø): 9.5 mm
- Socket Depth (A): 5.0 mm
- Overall Length (L): 395 mm
- Handle Length (L1): 145 mm
- Norms: UNI 6743
Features:
- Swivelling Mechanism: Allows the socket to be pre-positioned at an angle of up to 50°, providing flexibility in tight spaces.
- Effort Reduction: Reduces tightening effort to 90° in a fixed position during use, enhancing efficiency.
- Adjustable Sliding Handle: Can be stopped in the required position, with a safety catch to prevent the handle from coming out.
- Triple Size Marking: Clearly marked on the head for easy identification and use.
The Beta Tools 952 6 T-Handle Wrench is perfect for professionals who need a versatile, efficient, and durable tool for quick, repeated screwing operations. Its ergonomic design and robust construction make it a dependable choice for achieving optimal results in various applications.
-
Group(s)-
-
Type-
Payment & Security
Payment methods
Your payment information is processed securely through a trusted payment gateway. We do not store or have access to your credit card details, ensuring your data remains protected at all times.
Trusted Provider
Power Play UK is trusted by riders and mechanics worldwide for providing reliable, high-quality parts and accessories. Committed to excellence, we deliver durable, innovative solutions that meet the needs of professionals and enthusiasts alike.
Product features
The Beta Tools T-Handle Wrench with Swivelling Hexagon Socket 6mm - Beta Tools 952 6, is engineered for quick and efficient screwing operations. Its innovative design features an articulated joint that maintains functionality over time without the need for adjustments, making it a reliable tool for professionals.
Specifications:
- Hexagon Size (?): 6 mm
- Diameter (Ø): 9.5 mm
- Socket Depth (A): 5.0 mm
- Overall Length (L): 395 mm
- Handle Length (L1): 145 mm
- Norms: UNI 6743
Features:
- Swivelling Mechanism: Allows the socket to be pre-positioned at an angle of up to 50°, providing flexibility in tight spaces.
- Effort Reduction: Reduces tightening effort to 90° in a fixed position during use, enhancing efficiency.
- Adjustable Sliding Handle: Can be stopped in the required position, with a safety catch to prevent the handle from coming out.
- Triple Size Marking: Clearly marked on the head for easy identification and use.
The Beta Tools 952 6 T-Handle Wrench is perfect for professionals who need a versatile, efficient, and durable tool for quick, repeated screwing operations. Its ergonomic design and robust construction make it a dependable choice for achieving optimal results in various applications.




